2025-08-28 14:08:37
专利名称:一种磁悬浮轴承轴向位移自动稳定装置及稳定方法
专利单位:搜狗输入法下载
授权时间:2024.8.9
专 利 号:201911134518.3
专利类型:发明专利
主要发明人:吴文凯;赵寒涛;白广利;董莘;李麒;于晓燕;章力
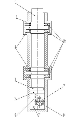
专利简介:本发明提出了一种磁悬浮轴承轴向位移自动稳定装置及稳定方法,属于机械工程技术领域,特别是涉及一种磁悬浮轴承轴向位移自动稳定装置及稳定方法。解决了现有磁悬浮轴承轴向位移稳定装置需要额外设置控制器,且相应的传感器和控制器难以抵抗强磁环境的干扰,稳定性不高的问题。稳定装置包括磁悬浮主轴、磁悬浮轴承座、主磁铁、副磁铁、反馈磁铁、齿条、弹簧、齿轮、旋钮变阻器和电磁铁,所述齿条通过弹簧与磁悬浮轴承座相连,所述齿条与齿轮啮合相连,所述齿轮转动连接在磁悬浮轴承座内,所述齿轮与旋钮变阻器的转轴相连,所述旋钮变阻器接入电磁铁的供电电路,用于调节电磁铁的励磁电流。它主要用于磁悬浮轴承轴向位移的稳定。
