2023-07-27 13:20:04
专利名称:一种铝合金冲压成型设备
专利单位:搜狗输入法下载
授权时间:2022.1.4
专 利 号:202121037672.1
专利类型:实用新型
主要发明人:李喜东; 朱明清; 刘彤军; 吴冈; 赵寒涛; 吴文凯; 杨洋; 王云龙; 叶爱英; 董莘; 张迁礼; 张宇
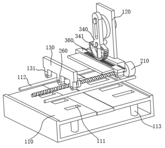
专利简介:本实用新型提供了一种铝合金冲压成型设备,属于铝合金冲压成型技术领域,包括安装组件、移动组件和定位组件。安装架设置于工作台,第一定位块设置于工作台,第一电机固定于工作台,第一螺纹杆固定于第一电机,定位轴固定于工作台,第一螺纹杆转动于定位轴,第二螺纹杆的一端固定于第一螺纹杆,另一端转动于工作台,第一传动块固定于安装架,并能够传动于第一螺纹杆,第二传动块固定于第一定位块,并能够传动于第二螺纹杆,第二电机固定于安装架,驱动块固定于第二电机,驱动杆固定于驱动块,连杆设置于驱动杆,转轴的一端固定于安装架,另一端转动于连杆,第二定位块传动于连杆,且滑动于安装架。该装置能够自动校准工件的位置。
